IEDM 2025: 電界効果トランジスタ(FET)発明100周年を記念して
IEEE(米国電気電子学会)主催の半導体デバイスに関する最高峰の国際会議「International Electron Deice Meeting (IEDM 2025)」が2025年12月6〜10日に米国カリフォルニア州サンフランシスコで開催される。今回のメインテーマは、「FET発明100周年:デバイス・イノベーションの未来を築く」である。このメインテーマに沿った行事がいくつも企画されている(参考資料1)。
図1 IEEE主催の国際会議IEDM(左)およびIEEE主催の一連のFET発明100周年行事(右)のロゴ
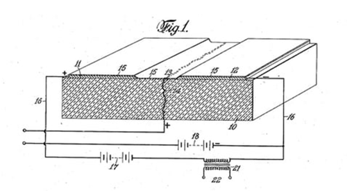
2025年は、電界効果トランジスタ(FET)発明100周年という重要な節目を迎えている。FETの最初の概念は、オーストリア生まれのユリウス・リリエンフェルト(Julius Lilienfeld)が1925年10月22日にカナダ特許庁に出願した電流制御方法および装置特許(申請番号CA272437A、米国では翌年出願した特許の申請番号US140363A)に記載されている。リリエンフェルドは特許出願に注力して学術論文を発表しなかったうえに、当時の技術では実際に制御作用を実現できなかったため、長年にわたり話題にもならなかった。

図2 ユリウス・リリエンフェルトが考案した電流制御装置 (出所:米国で2030年1月20日に公開された特許1745175)
過去1世紀にわたり、FETの開発と革新は、コンピューティング、メモリ、通信、その他数え切れないほどのアプリケーション向け集積回路の実現に不可欠な役割を果たしてきた。ベル研究所におけるショックレーらによる真空管に替わる固体電流増幅装置を開発する壮大な研究もユリウス・リリエンフェルトの特許に触発されたといわれているが、真相は闇の中だ。
IEDM 2025では、岩井洋氏(東京科学大学名誉教授)が「A Century of Miracles: From the FET's Inception to the Horizons Ahead(奇跡の100年: FETの誕生と未来への展望)」と題してIEDM 2025のメインテーマにふさわしい講演を行う。同氏は「1世紀前のFETの発明から今日の超高性能CMOSに至るまで、その道のりは、あり得ない偶然の連続によって彩られ、今日の技術的奇跡へと繋がってきた。この講演では、これらの驚異的なマイルストーンを検証し、FETの性能限界を再び覆す可能性のある次なるブレークスルーについて考察するつもりだ」と述べている。
IEDM 2025では、基調講演、招待講演、チュートリアル、ショートコース、パネル討論などのほかに、公募の中から採択された295件の一般講演が行われる。IEDM実行委員会は一般講演の中から16件の注目講演を選び、その中に、日本から、キオクシアの発表(図3)とソニーの発表(図4)が含まれている(参考資料2)。
![]()
図3 キオクシアがIEDM 2025で発表する「将来の高密度・低消費電力3D DRAM向け多層積層可能な酸化物半導体トランジスタ」 出典:IEDM広報提供資料

図4 ソニーがIEDM 2025で発表する「SWIR検出波長を備えたGe-on-Si SPADセンサ」 出典:IEDM広報提供資料
参考資料
1. IEDM ウェブサイト
2. IEDM プレスキット



