製品開発は自分にプレッシャーをかけ、常に真剣勝負で臨もう
前報(参考資料1)で、実用化のため独創力を発揮した例として、喜多川儀久氏の業績に触れた。喜多川氏は米国のテキサス・インスツルメンツ・インコーポレイテッドで、1Tr. 1C(以下1Tr型と記す)の基本セルを使って4K DRAMを世界で初めて開発した(参考資料2-4)。前報の原稿を作成した時に事実関係確認のため、幾度か喜多川氏と私信を交わしたが、ご多忙の中、そのすべてに対して喜多川氏からご丁寧な返事を頂いた。その私信の中にも開発技術者に広くお伝えした方が良いと思われる内容が多く含まれていた。喜多川氏に公表のお伺いをしたところ快諾されたので、前報の続編として紹介しておきたい。本報では前報作成後に交換した私信も含めている。
前報の繰り返しになるが、喜多川氏はテキサス・インスツルメンツ・インコーポレイテッド(以下TIと略す)フェロー、日本テキサス・インスツルメンツ(株)デザインセンター長、武蔵工業大学(現東京都市大学)客員教授を歴任され、現在、電子情報通信学会フェローでビジネス パートナー ジャパン代表取締役である。
まず時代背景として1Tr型DRAM基本セルについて述べる。これはMOS FETにおける比例縮小則の論文(参考資料5)の著者としても有名な、IBMのデナード(R. H. Dennard)氏の発明(参考資料6)によるものである。1967年7月14日に米国特許出願され、1968年6月4日に登録されている。
日本ではその頃、SiO2膜やSi-SiO2 界面制御がまだ難しく、1965年11月から東京大学(現在、名誉教授および東洋大学名誉教授)の菅野卓雄先生を中心に、毎月30〜40人の研究者が集まって、「シリコン酸化膜研究会」という私的な研究会が開催され、真剣な討議がなされていた。それがまとめられて「MOS電界効果トランジスタ」(参考資料7)として発刊されたのが1969年1月であり、その続編である「MOS電界効果トランジスタの応用」(参考資料8)が出版されたのは、大学紛争時代を経て1974年7月であるといえば、大方の読者は、当時のMOSデバイスに関する技術的な時代背景が把握できよう。
日本がこのような時代に、米国で申請されたデナード氏の特許(参考資料6)は、「単一の電界効果トランジスタと単一のキャパシタを組み合わせて基本セルとする」メモリに関するものであり、また「そのキャパシタの代わりに第2の電界効果トランジスタを配置して、その第2の電界効果トランジスタの基板とゲートとの間のキャパシタンスを記憶の蓄積に用いる」場合も含めた内容で、「電界効果トランジスタメモリ」という表題になっている。この特許明細書には動作原理についても詳細に記述されているが、今では広く周知されている内容(参考資料9)なので、ここでは省略する。
さてそのようなデナード氏の特許も、それを実用化した喜多川氏は、当時その存在すら知らなかったという。以下喜多川氏からの私信を、許可を得て掲載させて頂く。本稿に無関係な部分は省略し、( )内の文章を付け加えて筋がわかるようにした。なお、他の私信に対しても同様な処置をさせて頂いた。「 」内の「私」は喜多川氏である。
「(前略)私は外資系におり、日本の技術界から離れておりましたので、私の1Tr型 4K DRAMの設計は、IBMの特許とインテルの著名な『1103』―3Tr型1K DRAM―の陰に隠れて、日本ではほとんど知られていなかったようです。[筆者注:喜多川氏によるTI製4K DRAMは、実際には本人が思う以上に日本でも知られていたことは後述する。] もっともIBM特許は、私は当時その存在すら知りませんでした。しかしおかげさまで後日、多くの日本のDRAMメーカーから多額の特許使用料を頂くことで、TI には貢献ができたようです。日本半導体業界の敵であったともいえますが。
ちなみに、1チップマイコンの特許もインテルではなくTI が持っています。90年代に裁判で最終確定しました。私の席から数席離れたところでマイコン設計に従事していたコックラン(M. Cochran)氏とブーン(G. Boone)氏が発明者(参考資料10)です。
ついでですので、1970-1972頃の設計環境をご紹介しますと、TIではMOSメモリの設計技術者は10名以下で、シフトレジスタとか6Tr、4Tr、3Tr、2Tr型セルなどを使用したメモリを手分けして開発していました。インテルに先行されたために、TI として、急きょ『1103』をリバースエンジニアリングして、3Tr型セルで商品化したこともあります。私はそのリバースエンジニアリングにはノータッチでしたが、H社のカスタムメモリとして、変形3Tr型セルを開発し、2K DRAMにして、1971年頃、設計・納入しました。これは、通常の3Tr型が3個のトランジスタと2本のアドレス線および2本のデータ線で構成されるところを、データ線を1本にして、さらなるコスト低減を狙ったものでした。
翌年、TI は当然ながら、(インテル製3Tr型1K DRAMの)『1103』を飛び越え追い抜くため、4K DRAMの設計を開始しました。スポー(B. Spaw)氏 という若手技術者が本命の 3Tr型セルを用い、私がバックアップとして1Tr型セルの設計開発を担当し、社内開発競争です」(参考資料11)ということであった。
公表されている文献(参考資料2、3)が複数の著者であったので、当然グループを編成して開発されていたのかと思ったが、念のため確認したところ、喜多川氏は次のように答えてくれた。
「当時の設計スタッフは、私とレイアウトテクニシャンを含めて製品当たりわずか2名です。(中略)ですから、(私は)設計の隅々まで目が届き、自分勝手な回路を使い、今思えば、それはそれは楽しい仕事でした。たまたま私の設計(した製品)が、1回で良好に動作したのは幸運でしたが、遅れたスポー氏 が後日インテルに移る結果になったのは、同僚として一抹の寂寥感を覚えたものでした。
製品発表以来、1Tr型セルの製品は当時市場になかったので、多くの競合他社からコピーされたのは、本当に設計者冥利に尽きます。残念なのは、(歩留まり改善活動のため)現場に時間をとられ、次世代の設計に時間を割けなかったことです。64K世代以降では、(私は)メモリ設計から離れていましたが、日本勢はグループやチーム体制で開発を進め、その後の結果はご承知の通りです。
また、引用されている特許(参考資料3)と技術小文(参考文献2)には、クオー(C. Kuo)博士の名前が最初に出ていますが、(彼は)私の所属していた部の設計部長です。設計の方針、環境構築など、親身に指導していただいた恩人です。英語が不得手で、現場(での技術活動)で時間がとれない私に代わり、クオー 博士に発表文、特許などをお願いしたので、博士の名前が先頭に来ています。参考までに、(参考資料2の)他の著者は当時の新任部長とプロセス部長です(後略)」(参考資料11)。
以上を受けて書き直した前報(参考資料1)の原稿に対して、以下の返事(参考資料12)を頂いた。
「(前略)今回は、何の違和感も感じません。(中略) 私の場合は家族帯同で米国エンジニアとほぼ同等の生活でしたが、業績が上がらないと即レイオフですので、毎日が真剣勝負でした。私のような者でも生死をかけた戦いをすれば、それなりの成果が絞り出せるものなのでしょう。
その点、今の若手は恵まれすぎていますから、能力の発揮が難しくなっているような気がします。近年は、中、韓、台、印の技術者にすっかり抜かれてしまったようで残念です(後略)」。ここまでが前報をまとめるに至った途中経過である。
このような素晴らしい業績に関しては、その業績を上げた経緯、きっかけ、理由などを明らかにして、後進のために活用すべきではないかと思い、その旨を書き送ったところ、ご了解頂くと共に、その業績の一部が凝集されている喜多川氏の特許(参考資料3、以後米国特許登録番号の下3桁をとり、747特許と記す)に関して、以下のような私信(参考資料13)を頂いた。
「(前略)私の747特許は、80年代のTI 対日本メーカー間の巨額な特許紛争の中心的役割を果たしたものです。ですから、(相手側は)この特許の新規性とか独創性を認めるとライセンス支払いが増えますので、(この特許の価値は)TI以外では全く評価されなかったという、いわくつきのものです。特許紛争が絡んでいると、(価値判断や評価も)制限されるものです。
またロイヤリティを稼げるような特許は、(一般には)技術的にはつまらないことが多く、(今ではコロンブスの卵で、747特許を読んでも)あくびが出ることが多いでしょう。(中略) ちなみに、私が自分でも新規性が高く技術的にも価値があると自負していた特許は、インテル社が1度使いましたが、その製品があまり売れず、ロイヤルティ収入はゼロで、結果的にTI社 にとって無価値でした。皮肉なものです」と懐古しておられる。
747特許(参考資料3)の内容は、センスアンプやプリチャージ回路、バッファ回路、ダミーセル配置などに対して、製品化するまでになされた喜多川氏の多数の独創的発明をまとめたものである(参考資料1)。
この内容は1973年8月の特許出願後、1973年9月には米国Electronics誌に発表(参考資料2)され、また日本のエレクトロニクス誌(オーム社)でも1974年2月に、「nチャネルMOSダイナミックRAM 4k時代に」という特集号(参考資料14)が組まれ紹介されている。そして特許が登録される前の1975年には、先端技術の書籍、例えば新田松雄氏・大表良一氏共著、「ICメモリの使い方」の中で、TI製4K DRAM (TMS4030) に使われているセンス回路の詳細や動作タイミングが説明されるまでに至った(参考資料15)。従ってご本人が思う以上に早い時期から、日本でも知られていたことになる。
![図1 TI製1Tr型4kDRAMの配置図[喜多川氏の747特許明細書(参考資料3)のFig.2より]](/archive/blog/insiders/kamoshida/img/INS120322-01a.gif)
図1 TI製1Tr型4kDRAMの配置図[喜多川氏の747特許明細書(参考資料3)のFig.2より]
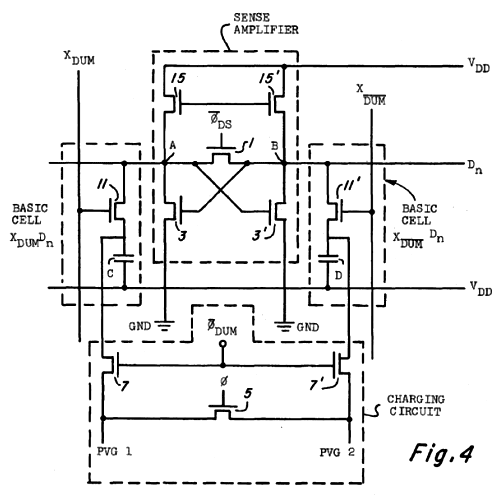
![図2 TI製1Tr型4K DRAMに使われたセンスアンプ回路図とそれに連なるダミーセル、およびチャージ回路図[喜多川氏の747特許明細書(参考資料3)のFig.4より]](/archive/blog/insiders/kamoshida/img/INS120322-01b.gif)
図2 TI製1Tr型4K DRAMに使われたセンスアンプ回路図とそれに連なるダミーセル、およびチャージ回路図[喜多川氏の747特許明細書(参考資料3)のFig.4より]
ここで少し喜多川氏の発明の一端をご紹介しよう。図1は747特許明細書(参考資料3)のFig.2であり、図2は同じくFig.4である。図1のように両側に32×64ビットのセルマトリックスが配置され、中央の列に図2のセンスアンプとチャージ回路が配列されており、さらにプリチャージ回路PVGがそこに接続された構成になっている。世界最初なので、その当時はこの構成そのものにも新規性があった。
またここでは図2のように、センスアンプはダイナミックラッチ型アンプを採用している。そしてダミーセルがセンスアンプに接続されており、そのダミーセルはデコーダのインターロック機能が働きやすいように配置されている。このような配置も特徴の一つになっている。
もちろん、このようなシステム構成や配置は時代と共に変わってくる。喜多川氏は以下のように説明している。
「センスアンプは、完全なダイナミック方式でないので、センシング動作中は定常電流が流れます。当時は、完全ダイナミック方式を一番重要なセンス回路に使うのに、まだためらいがありました。
また数年後にはダミーセル抜きの方式が一般的になりました。シミュレーションと正確なセルの物理的データがあれば、センスアンプのバランスは容易となりダミーセルを省けます。
ちなみに、当時は、コンピュータの入力はパンチカードで(行う時代で)、まだまだ計算時間、精度とも足りません。シミュレーションごとに、パンチカードの大箱を車でIBMセンターに運びこんだのを思い出します。レイアウト設計図はすべて手書きで、デジタイザでの手動入力でした」(参考資料16)。
技術の進歩と共に、図1のシステム構成は変わった。しかし、世界初を達成するために、この発明の図1のシステム構成が果たした功績が、それで消えたわけではない。
ついでながら喜多川氏は、「80年〜90年代にかけシミュレーション環境が急激に進化するにつれて、技術者がコンピュータに頼りきり、あまり考えなくなり困ったことを思い出しました。2000年〜現代はインターネットの利用環境が急激に進化するにつれ、若者が同様のシンドロームに陥りつつあるように思います」(参考資料16)と若者に警鐘を鳴らしている。
さて回路動作を少し特許明細書に従って説明しておこう。図2で電圧発生回路PVG1は高い電位 VDD−nVT(nは回路設計上リークマージンをコントロールする変数であり、本特許実施例ではn=2としているので、以下その実施例で記述する)の電源供給端子であり、PVG2は接地電位を供給する。ここでφがハイの時に電源回路は切り離され、トランジスタ5をオンにすることで、PVG1とPVG2が等電位になり、ほぼ (VDD−2VT )/2が作られる。続くプリチャージ期間にこの電位がダミーセル(図ではBasic Cell XdumDn)に移行し、ダミーキャパシタC、Dに印加される。
ほぼ同じタイミングで、センスアンプの信号(φDSのバー:反転信号の意味、編集室注)をハイにすると図中のトランジスタ1がオンになり、A点とB点が同電位になる。続くセンス期間中に、記憶セルの"1"(VDD−VT)と"0"(接地電位)のいずれかの電圧とダミーセルの電圧(VDD−2VT)/2を比較することにより、"1"と"0"とを効率よく区別できる。
厳密にはここで述べている電圧にキャパシタ容量Cをかけて電荷表示にするのが電荷センシングという意味で正しいが、表示記号がキャパシタCと紛らわしいので電圧表示のままにした。またダミーセルキャパシタの電圧が、"1"(VDD−VT)と"0"(接地電位)の中間値(VDD−VT)/2とVT/2だけ差があるのは、セルのリーク分が考慮されたからである。
一言でいうと、ダミーセルキャパシタを"1"(VDD−VT)と"0"(接地電位)のほぼ中間値の電位にしておいて、それを基準としてセルの電荷と比較し、"1"と"0"との判別を効率よく行おうという考えである。
これらのプリチャージ期間に端子AとB、端子PVG1とPVG2を等電位にするようなequalized precharge という考え方も、この発明の特徴の一つである。equalized prechargeという、不勉強な筆者にとって耳慣れない言葉に関する愚問に対して、喜多川氏からは私信(参考資料17)で以下の答えを頂いた。
「これは造語です。でも米国ではこれで意味は通じました。回路技術の話ですので、少々込み入った話になりますが、要はラッチ型センスアンプの両端子をプリチャージの時間の間に短絡して中間の等電位に調整する回路技術のことです。
今では、当たり前の技術で名前もありませんが、当時は微小信号を検出する手段として大いに役立ちました」。
また喜多川氏は、必ずしも発明者の予測通りにはならない特許の価値について、前記のように触れておられるが、発明者がこれは大事な発明だと思って出願した特許が役に立たず、何気なく出願した特許が、後に役立つ例は枚挙にいとまがない。日本が現在保有している有効特許100万件の内、未活用特許が65%(参考資料18)もあるということからも、それは明らかである。また、実用化のための開発では、こんなものが特許になるのかと思われるようなものも多い(参考資料19)。そしてそのようなものこそが、生みの苦しみを味わった末にたどり着く技術であり、開発実用化には貴重な発明になる。
事実、喜多川氏が「読んでもあくびが出たことでしょう」と謙遜された747特許でも、「価値のある部分はデータ読み書きやセル選択のシステム構成で、そのような基本構成は、ビット数がムーアの法則で増加しようとも変わりませんから、競合他社がどんな新規回路を使おうとも(抵触しますので)、長い期間、(TIは競合他社から)特許使用料を戴けたのでしょう」と、その効果を述べている。そして、
「一般にシステム構成の特許性判断は難しいものですが、完成度の高い製品のベースとして特許申請することで、新規なものとして認められ登録されたのではないかと思います。ですから、特許交渉では、この点が大いに論争されたようです。
特許の価値は、高いものほど技術的には価値が低くみえ、また論争も多いようです。逆にいうと、価値があるから論争するのだとも言えるかも知れません」(参考資料20)とのことであった。
後進にとって大事なのは、先人が着想するまでの過程や、その着想のきっかけを学び、自分の今後に生かすことである。喜多川氏のTIにおける1Tr型4K DRAMの開発、実用化までの足跡から学ぶべきことを、筆者なりに以下、3点まとめてみた。
1)仕事を好きになる
喜多川氏は前記のように、仕事そのものが「それはそれは楽しいものだった」と振り返っている。その理由が「設計の隅々まで目が届き、自分勝手な回路を使えたからだ」とのことである。
自分勝手にやれたからか否かは別として、ともかく「楽しく」仕事をすることが成功の秘訣の一つと言える。中国にも「一笑一若、一怒一老」という言葉がある(参考資料21)。楽しく仕事をすることが脳内活性化につながり、それが良い結果に結びつく。
そのためには仕事が好きにならなければならない。「好きこそものの上手なれ」である。「担当者にとっては仕事が好きになる」、「上司にとっては担当者に仕事を好きにならせる」ことが、まず重要である。喜多川氏の上司のクオー氏は、設計部長として、設計の方針、環境構築など、喜多川氏を親身に指導したという。喜多川氏から「恩人」と言われているが、クオー氏の指導は上司としての心構えを実践した例(参考資料22)の一つであろう。
2)「真剣勝負で臨む」「自分にプレッシャーをかけよ」
喜多川氏の「業績が上がらないと即レイオフで、毎日が真剣勝負。生死をかけた戦いをすれば、それなりの成果が絞り出せる」、「今の若手は恵まれすぎて、能力の発揮が難しくなっているような気がする」という文章も示唆に富む。
近年の学生の内向きな姿勢一つをとってみても、若者が「古い」と揶揄する筆者達の「老人」時代と比較すると、差は歴然である。あらためて奮起を促したい。「もっと貪欲に、もっとがむしゃらに」ということである。言い方が悪いとすれば、「もっと元気に、もっとハングリー精神を持とう」と言えばよいだろうか。もう言い古された言葉であるが、スティーブ・ジョブス(S. Jobs)氏の言葉、「Stay Hungry. Stay Foolish.」(参考資料23)をあらためて思い起こしたい。
本稿のチェックを依頼したとき、また新しいコメント(参考資料24) を頂いた。
「真剣勝負を(題材に)採り上げたのは肯けます。なかなか気づきませんが、技術者個人にとっては最も大事な点と思います。しかしながら、現代は真剣勝負の環境がありません。若い人に望んでもしょせん無理なように思います。ですから、私は武蔵工大(現東京都市大学)の学生には"ほらを吹け"と教えました」。
前報(参考資料1)の、喜多川氏が指摘する実用化開発の発明者の要件として、「3.当該分野でエキスパートでないこと」の解釈も難しかったが、「ほらを吹け」も、最初は「エ!何?」となった。
喜多川氏は「真意が伝わったかどうかわかりませんが、よくスポーツ選手が試合前に優勝宣言をして"(自らの)退路を絶つ"のと同じ方法と思います」として以下のようにご自分の経験を説明してくれた。
「当時、TI の世界戦略の一環で、世界各地の支社から設計技術者を募ったのですが、私もその(応募者の)1員でした。そこには大勢のPhDが集まり、私(学士)以外は全員マスター以上です。たまたま渡米前に目を通したエレクトロニクス誌の最新号で『ダイナミックMOS回路』が、最新技術としてほんの少し触れられていました。そこでまともな仕事をもらうのに、ダイナミックMOS製品を設計したい、と"大ぼら" を吹いたのです。失うものがない若さでしょうか。回路の動作原理の知識すらなかったのですが(自ら退路を断っておりましたので)、後から集中的に勉強し(ました。最終的にはそれが)認められ、部門の最重要プロジェクト(4K DRAM)を任されることにつながりました。
今では、「真剣勝負」というと、「プレッシャー」として反論が大いにありそうですね。 エンジニアはプレッシャーがあってこそ成長すると思います。海外ならプレッシャーに弱い人はテクニシャンにはなれますが、エンジニアにはなれません。(後略)」。
この項目のタイトルに「プレッシャーをかけよ」と記したのは上記のコメントによる。
3)適切な優先順位選択と開発納期の厳守
開発に優先順位をつけることも重要な戦略の一つである。この場合に例えると、4K DRAM開発に当たり、(1)1Kから4Kへビット数を増加させた新製品を開発しなければならない。そのとき(2)3Tr型から1Tr型へ型式変更をして開発するかどうかである。
通常、量産の場合、二つのリスクは避けるのが常套策である。量産が軌道に乗る前に問題が発生した場合、一つのリスクの方が、原因究明が容易だからである。TIとしては、3Tr型ならリバースエンジニアリングとはいえ、実績がある。また変形3Trの経験もある。手堅くリスクは一つにしておこうというのであれば、(2)を避けて、実績のある3Tr型で(1)に臨むのが本命であろう。
しかし、競合相手のインテルも3Tr型で4K DRAMの開発を当然進めているはずである。さらに、もしインテルが4K DRAMを1Tr型で開発を進めていればどうなるか。もしそれで先行されるようなことがあれば、TIとして3Tr型で成功しても、1Tr型の方が素子数もチップ面積も少なくできるので、インテルの優位性を追い越すことはできない。
一方、ここで1Tr型を本命にすれば、この場合は(1)ビット数増と(2)型式変更の2つの新しい技術開発に挑まねばならない。しかも(2)には(a)電流センシングから今まで例のない電荷センシング回路への移行と、(b)MOSキャパシタによる電荷保持という、二つの高い壁が待ち受けている。下手をすれば、市場の要求する納期に間に合わず、失敗する危険性も高い。
しかしもしこの1Tr型が成功すれば、仮に社内競争させている3Tr型が成功したとしても、必然的にコスト面の将来性から1Tr型を選ぶことになろう。そう考えると確実にインテルを追い抜くためにも、あるいは悪くても追いつくことを狙うとすれば、本命は1Tr型になる。
TIとしてどちらを本命に選ぶか、悩むところであったと思う。量産立ち上げ時のリスクを考慮して、前者を本命とし後者をバックアップにするという選択をしたのも、手堅さという点ではやむを得ない。ラインが1日止まれば、億円単位の不稼働損失が発生するので、量産技術を担当した経験者なら肯ける結論である。しかしこの場合のバックアップは上記の理由で、限りなく本命に近いバックアップになる。
後者を担当した喜多川氏の責務は、上記の(1)、(2)の2つの新しい開発と、後者に含まれる(a)、(b)の2つの新しい課題を克服し、しかもムーアの法則から予測される時期に製品を間に合わせることにある。ある意味では本命以上に期待を集めていたと思う。
喜多川氏の設計によるDRAMは、素晴らしいことに最初のウェーハから良品が取れたと言う(参考資料4)。過去に実績のない方式なので、回路設計の隅々まで目を通し、なおかつ新規な着想を織り込みながら、市場の要求する時期までに見事に完成させた。そこには、ご本人が言う以上に、厳しい納期管理もあったと思う。この件に対しても原稿チェック時に、以下のような追加コメントがあった(参考資料24)。
「納期管理も重要な指摘です。(エンジニアは)創造性重視からなかなか抜け切れないものだからです。この製品の開発時は、私達にとっては2人目の子になる長男が1歳前後で、手がかかる頃だったのですが、毎日のように終業後、いったん帰宅して子供達の面倒を見てから夜、会社に戻り開発を続けたことを思い出します。今なら『モーレツイクメン』とでも言われそうです。
日本人は勤勉といいますが、勤労者平均では正しいでしょう。しかし、技術者に限ると、
海外のエンジニアの方が上だと思います。無駄な残業はありませんが、必要な時には集中的にプロジェクトを期限内に完成をさせます」。
以前にも記述(参考資料25)したが、戦略立案と開発納期厳守は何にもまして製品開発技術者の心しなければならない重要事項である。
以上3点に絞って喜多川氏の成功事例からまとめてみた。言うまでもなく、技術者やリーダーの意気込みだけで、事業がやれるかというと、それだけではないことは自明である。前報記載のように、成功している他国の競合企業を冷静に分析し、確固たる信念のもとに立案された戦略とマーケティングが必要である。それがなされているという条件下での、企業で働く開発技術者の心構えを記述した。
本稿が少しでも開発を担当される技術者の勇気づけの一助になり、ご参考になれば幸甚である。
【謝辞】
喜多川儀久氏に、今回も前報に引き続き、原稿のチェックをして頂いた。それと共にたくさんのコメントを頂戴し引用したので、筆者が誰なのか判らないくらいである。本来なら連名にして発表すべき内容であるが、本コラムの性質上、単名をお許し頂きたい。またテキサス・インスツルメンツ・インコーポレイテッド法務部 日本法務知的財産本部長 鈴木邦三氏には御多忙の中、本稿に目を通して頂いた。そしてまた、いつもの通り津田編集長には査読をお願いした。併せ厚く御礼申し上げたい。
【参考文献】
1. 鴨志田元孝、"ナノテクノロジーの産業振興を急ごう"、Semiconpotal
2. C. Kuo, N. Kitagawa, E. Ward, P. Drayer, "Sense Amplifier is Key to 1-Transistor Cell in 4096-bit RAM", Electronics Vol. 46, pp. 116-121, Sept. 13 (1973)。
3. C. –K. Kuo, N. Kitagawa, "High Density, High Speed Random Access Read-Write Memory", US Patent 3940747, Feb. 24 (1976)
4. 喜多川儀久、"時代を変えた発想 1トランジスタDRAMを創出 最初のウェーハで全ビット動作"、NIKKEI MICRODEVICES 1993年2月号pp.135-136
5. R. H. Dennard, F. H. Gaenssien, H.-N. Yu, V. L. Rideout, E. Bassous, A. R. LeBlanc,
"Design of Ion-Implanted MOSFET's with Very Small Physical Dimensions," IEEE J. Solid-State Circuits SC-9, 256 (1974)
6. R. H. Dennard, "Field-Effect Transistor Memory", US Patent 3387286, June 4 (1968)
この件はS. Takei、"DRAM用1トランジスタセル基本特許(R. H. デナード、IBM社)"、http://homepage3.nifty.com/circuit/dokusou/tokukyo7.pdfでも紹介されている
7. 菅野卓雄、小野員正、垂井康夫、「MOS電界効果トランジスタ」、日刊工業新聞社刊(1969)
8. 菅野卓雄、垂井康夫、「MOS電界効果トランジスタの応用」、日刊工業新聞社刊(1974)
9. どこにでもこの説明はあるが、例えば鴨志田元孝、「改訂版・ナノスケール半導体実践工学」、丸善仙台出版センター刊(2010)、p.3
10. 例えばウィキペディア英語版に、TI出願のG. Boone, "Computing Systems CPU", USP3757306(1973)およびG. W. Boone and M. J. Cochran, "Variable function programmed calculator", USP 4074351(1978)を引用した詳しい説明がある
11. 喜多川儀久、私信 (2012年2月23日 13:26)
12. 喜多川儀久、私信 (2012年2月23日 22:49)
13. 喜多川儀久、私信 (2012年2月25日)
14. "特集―nチャネルMOSダイナミックRAM 4k時代に"、エレクトロニクス、オーム社刊、(No.2、1974)、pp233‐254
15. 新田松雄、"3.4.6 1素子メモリセル"、新田松雄、大表良一著「ICメモリの使い方」、産報刊 (1975)、pp.66-69
16. 喜多川儀久、私信(2012年3月7日)
17. 喜多川儀久、私信(2012年1月31日)
18. 例えば木村勝己、"目覚めよ!休眠特許"
19. 例えば鴨志田元孝、"3.1 戦略的な発明の発掘、洗い出し"、山崎拓哉監修、鴨志田元孝編著、武 信文著、「これからの知的財産実務」、税務研究会出版局刊(2007)、pp.82-114に、こんなものでも特許になるという筆者の実例を掲げた
20. 喜多川儀久、私信 (2012年3月8日)
21. 例えば春山茂雄、「脳内革命2」、サンマーク出版刊(1996)、pp96-97
22. 適切な例ではないかもしれないが、鴨志田元孝、「改訂版・ナノスケール半導体実践工学」、丸善仙台出版センター刊(2010)、p.228 演習問題4にもメタライゼーション担当になった新入社員のモティベーション高揚策を尋ねる演習問題を掲載している。
23. 例えば" 'You've got to find what you love', Jobs says", Stanford University News (2005)にスティーブ ジョブス氏の卒業式の祝辞が掲載されており、最後に"Stay Hungry. Stay Foolish."と結ばれている
24. 喜多川儀久、私信 (2012年3月2日、16:05と16:27送信の2通)
25. 鴨志田元孝、"新製品開発に必要な論理的計画管理と知的財産権に対する執念"、Semiconpotal (2011年2月)




